VERON afdeling Friese Wouden
Afdelingsblad 'CQ Friese Wouden'
door PA3BHS
Een simpele 3.5 MHz direct-conversie ontvanger
Hierbij een interessant artikeltje dat ik in
RadioCommunications van juli 1993 tegenkwam.
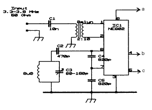
De ontvanger is opgebouwd rond een NE602 IC. Dit IC bevat een
gebalanceerde mixer en een oscillator. D.m.v. een balun wordt de impedantie v.d.
antenne van 50 Ohm opgetransformeerd, de balun bevat 2 windingen primair en 10
windingen secundair op een ringkern, waarschijnlijk is dit een T50-2.

De ingangskring is niet afgestemd, maar aangezien de meeste
amateurs een antennetuner gebruiken is dit geen probleem. Door de ingebouwde
balansmixer worden sowieso de even harmonischen onderdrukt. Als je geen tuner
gebruikt, is het wel raadzaam, om een bandpass filter ervoor te zetten.

De oscillator heeft een bereik van 3.3 tot 3.8 MHz, pin 6 en 7
zijn de basis emittor aansluitingen van een interne transistor. I.p.v. de
afgestemde kring kan ook een kristal worden toegepast.

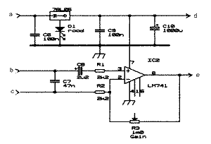
De NE603 heeft een versterking van ongeveer 18 dB bij een
gebalanceerde output tussen pen 4 en 5, de output wordt versterkt door een 741
opamp. De opamp heeft een spanningsversterking van 500 keer. Na de opamp wordt
het audiosignaal omlaaggetransformeerd naar 35 Ohm, zodat hierop een koptelefoon
kan worden aangesloten. De condensator, in serie met de koptelefoon, dient als
eenvoudig audiofilter, de hoge tonen worden onderdrukt.
I.v.m. de hoge versterking, moeten de draden naar de
koptelefoon zo kort mogelijk gehouden worden, om oscilleren te voorkomen.
De 78LO5 en de rode LED zorgen voor een gestabiliseerde
spanning van 5 Volt en zorgen ervoor dat pen 4 en 5 van het IC op de helft van
de voedingsspanning komen.
Succes met de bouw,
Kees - PA3BHS