Ik ben begonnen om alle units van de moederprint te halen en
in een aparte kast te bouwen om ze vervolgens weer door te verbinden, zoals op
de bijgeleverde documentatie is aangegeven. Voor de hierna te beschrijven
modificaties is dit niet beslist noodzakelijk, maar het werkt wel een stuk
gemakkelijker. Als alternatief kan je ook de hele unit in een grotere kast
plaatsen, met aan de voor en achterkant ruimte voor de knoppenwinkel, snoeren,
etc en in de kast kan dan ook een 12V DC voeding aangebracht worden.
Alvorens de modificaties te beschrijven, eerst even een klein
stukje theorie over de werking van het apparaat. Het VFO signaal wordt opgewekt
via het zogenaamde Phase Lock Loop systeem. In een eerdere uitgave van CQFW heb
ik de werking van zo'n systeem al eens uitgelegd, zodat ik me nu zal beperken
tot de concreet te gebruiken frequenties.
We gaan gemakshalve even uit van de frequentie 145.000 MHz. Op
print B11B1 bevindt zich de zogenaamde fixed oscillator. Dit is het X-tal van
40.55 MHz x 4 = 162.2 MHz. Op print B19 bevindt zich de VCO (Voltage Controlled
Oscillator) die oscilleert op 166.4 MHz. Op print B11 wordt deze 166.4 gemixed
met de fixed frequentie van 162.2, wat een verschil frequentie oplevert van 4.2
MHz. Deze 4.2 MHz wordt toegevoerd aan print B17C2 en vervolgens gedeeld door (duimwiel)
10101000, oftewel door 168, wat betekent 4.2/168 = 25 KHZ. (A) Op print B17C2
bevindt zich tevens de zogenaamde referentie oscillator van 400 Khz. Deze
frequentie wordt gedeeld door 16, wat dan ook een frequentie van 25 kHz oplevert.
(B) 25 kHz (A) en 25 kHz (B) worden toegevoerd aan de phase comperator, actief
LD filter en een opamp, die vervolgens een spanning afgeeft voor de VCO,
waardoor de frequentie stabiel blijft op 166.4 MHz. Elke afwijking op deze 166.4
resulteert in een afwijking op de frequentie van 25 kHz, wat op zich weer
resulteert in een gewijzigde VCO spanning, enz., enz. De oscillator blijft dus
"gelocked" op 166.4 MHz. Trekken we van deze frequentie nog de MF af,
166.4 - 21.4, dan is de uiteindelijke frequentie dus 145.000 MHz.
De modificaties
Fixed X-tal oscillator
In fig. 1 is deze oscillator aangegeven. Het blijkt niet
mogelijk te zijn om het X-tal exact op de frequentie van 40.55 MHz af te regelen
met behulp van L2.

Fig. 1
L2 heb ik vervangen door een trimmer van 40 pF, waarmee de
zaak zich prima liet afregelen op 40.55 MHz.
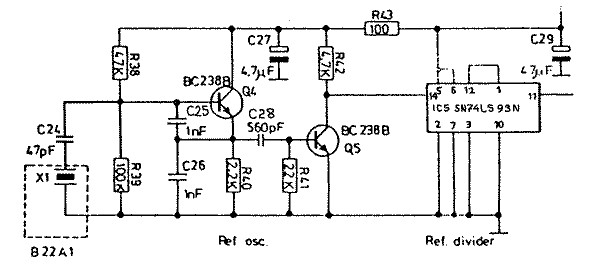
Referentie oscillator
In fig. 2 is de referentie oscillator afgebeeld. X1 = 400 kHz.

Fig. 2
Haal het x-tal uit de houder en soldeer over de houder 2 stuks
HF smoorspoeltjes van elk 1 mH in serie. Monteer in het front een
afstemcondensator van circa 25 pF met een parallel condensator van 33 pF en
verbindt deze met een kort coax kabeltje aan de x- tal houder. Deze schakeling
oscilleerde bij mij op exact 400 kHz. Met de afstem condensator is de frequentie
te varieren van 380 naar 420 kHz, ruim voldoende om over een bereik van 25 kHz
op 2 meter (tussen de kanalen dus) te kunnen afstemmen.

Fig. 3
In fig. 3 is de oscillator schakeling nogmaals weergegeven.
De deler
Zoals in de inleiding al is beschreven, de verschil frequentie,
die aan de deler wordt toegevoegd, loopt in de originele schakeling van 2.56 tot
4.56 MHz. Voor 2 meter gebruik echter loopt deze frequentie van 3.2 tot 5.2 MHz.
Ik denk, dat deze frequentie verhoging er debet aan was, dat het soms mis ging
boven de 4.2 MHz (145.000) Als je de deler bekijkt, dan blijkt daaruit iets
bijzonders. IC2 is een SN74193 en IC3 is een SN74LS193N. Verschillen in de
schakelsnelheid zullen wel geleid hebben tot deze keuze, in ieder geval is het
kritisch. Na veel geknutsel bleek de zaak goed te delen tot 5.2 MHz, als ik de
SN74LS193N verving door een 74HCT193.

Fig. 4
Om een betere (hogere) clock-puls voor de deler te krijgen,
heb ik C4 van 150 pF vervangen door een C van 220 pF. Een en ander is weer
gegeven in fig. 4.
(wordt vervolgd)
73, Bouke - PAoZH