VERON afdeling Friese Wouden
Afdelingsblad 'CQ Friese Wouden'
door PEoVMT
Het fenomeen 'morse' is voor veel luister- en zendamateurs nog
altijd dŠ manier om ongestoord met de rest van de wereld te communiceren. Als 'fone'
het laat afweten door ander ether-kabaal, zoals storingen of druk bezette
frequen- ties, dan is CW nog steeds goed te nemen. Over storingen gesproken:
door het toenemende aantal gebruikers van bepaalde amateurbanden wordt
ongestoord radioverkeer steeds moeilijker. En dat geldt -hoewel in mindere mate-
ook voor CW... Moderne (zend/)ontvangers zijn uitgerust met smalle filters, maar
dergelijke communicatiemachines zijn voor menig hobbyist te duur. Als je met een
betaalbaar apparaat op strooptocht naar DX gaat, ervaar je geregeld, dat
veelbelovende signalen verdrinken in het geweld van de kilowatters, die zich
buiten onze landsgrenzen met het amateurverkeer bezig houden. En smalle MF-
filters zet je nu eenmaal niet 'eventjes' in een willekeurige ontvanger. Om t¢ch
nog op een volwaardige manier aan het CW-verkeer deel te nemen, moet je derhalve
creatief zijn. En die creativiteit is gelukkig onder zendamateurs nog wel te
vinden! Overigens is het de moeite waard, om eerst verder te lezen, v¢¢r je
het soldeerijzer warm stookt...
De opzet
De CW-processor werd oorspronkelijk (ruim 13 jaar geleden)
opgezet als morse- pieper. Toen dat ding naar tevredenheid werkte, werd er een
nivo-detectortje bijgeknutseld, om met behulp van binnenkomende morse-signalen
de pieper te laten starten. Op die wijze kregen alle signalen het vertrouwde
toontje. Weer wat later werd er een echt audiofilter bijgebouwd, en gaandeweg
werd het doosje voller. Een audioversterkertje, een eigen voeding, een relais,
wat signaal-LED's en op een gegeven moment leek het doosje wel wat op Emmentaler
kaas vanwege het grote aantal 'gaten' voor schakelaars, LED's en aansluitbus-
sen... Uiteindelijk is de CW-processor in een mooi metalen kastje terecht
gekomen, de schakelingen werden netjes op printjes gezet en het eindproduct is
een veelzijdig inzetbaar apparaatje geworden: LF- en HF-signaltracer, toonge-
nerator, CW-processor, repeater-slot-pieper, sounderapparaat, CW-zenderbesturing
met side-tone-oscillator, en (vanwege de aan- en uitfloepende LED's)
alternatieve kerstversiering...
Schakelingen
Het schema van de CW-processor kan worden uitgesplitst in vele
onderdelen. Terwille van de overzichtelijkheid kijken we eerst even naar het
blokschema (afb. 1). Blokje 1 is een regelbare LF-versterker (1...100x), blokje
2 is een selectieve versterker (doorlaat ca. 1 kHz), deze trap kan naar wens in-
of uitgeschakeld worden met S2. Beide trapjes zijn uitgerust met een µA 741.

Afb.1 Blokschema van de complete telegrafieprocessor
Blokje 3 is een nivo-detector, als er voldoende signaal wordt
aangeboden wordt een gelijkspanning afgegeven en een lED knippert in hetzelfde
tempo mee. Blokje 4 is een eenvoudige elektronische schakelaar met een FET, die
op zijn beurt het uitgangssignaal van een sinusgenerator (blokje 5) naar massa
kortsluit of ongehinderd naar de uitgang doorgeeft. De elektronische schake-
laar kan eveneens worden geactiveerd met de seinsleutel via blokjes 7 en 8.
Blokje 6 is een eenvoudige LF-eindtrap die het ingebouwde luidsprekertje of de
koptelefoon van signaal voorziet. Behalve LF-signalen kunnen we ook nog
(amplitude-gemoduleerde) HF oppikken via een diode-detector (blokje 9). Het
ongenummerde blokje stelt de (gebalanceerde) voedingseenheid voor. Welliswaar
zitten er nauwelijks verrassingen in (de meeste schakelingen zijn 'bekend'),
maar toch is het goed om even bij elke 'afdeling' stil te staan.
Principeschema'S
Het hart van de CW-processor wordt gevormd door de selectieve
versterker en de nivo-detector, opgebouwd rond IC1, IC2 en darlington T1 (afb.
2). De verster- kingsfactor kan vanaf het frontpaneel ingesteld worden met
potmeter R4.

Afb.2 Principeschema van regelbare voorversterker, selectieve versterker en
niveaudetector
De selectieve versterker is uitgerust met een Wien-netwerk
waarvan de doorlaat rond 1 kHz ligt. Signalen van toereikende amplitude zetten
darlington T1 aan of uit waardoor het knooppunt R13 en D3 tussen plus of min
voedingsspanning op en neer wipt. In afb. 3 is de seinsleutel-schakeling van
blokjes 7 en 8 uitgewerkt; transistor T3 vervult dezelfde functie als darlington
T1 in afb. 2.

Afb. 3 schema van dat gedeelte dat door de
seinsleutel wordt geactiveerd

Afb. 4 Principeschema van de electronische
schakelaar en de sinusgenerator

Afb. 5 Lf-vermogensversterker en de hf en de
lf-ingang voor de signaalzoeker
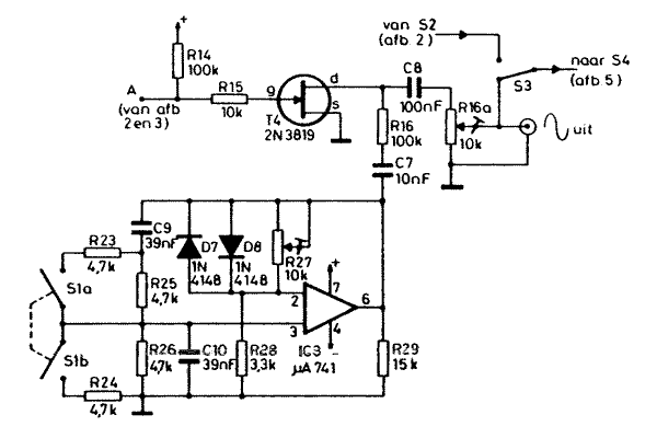
De elektronische schakelaar en de sinusgenerator van blokje 4
en 5 zijn getekend in afb. 4. De generator is wederom opgezet rond een µA 741.
Met behulp van instelpotmeter R27 wordt de oscillator zo ingesteld dat hij
netjes start en een mooie sinus afgeeft. Sinusgeneratoren hebben de prettige
eigen- schap aangename tonen te produceren, die het menselijk oor niet
onmiddellijk zodanig tarten dat de bezitter ervan het wereldrecord hardlopen
wenst te verbeteren. Met zaagtand- en blokgolf-oscillatoren is in dit verband
dus nog wat te verdienen in de wereld der topsport...
De waarden van het RC-filter zijn zo gekozen dat de opgewekte
sinus een frequentie heeft van ca. 1750 Hz, hiermee kunnen we relaiszenders open
piepen. Door schakelaar S1a/b open te zetten kan de frequentie van de
toongenerator gehalveerd worden, 850 Hz is een prettig in het gehoor liggend
morse-toontje. Aan de uitgang van de toongene- rator is een wat wonderlijke
'potentiometer' opgenomen, bestaande uit weer- stand R16 en veldeffect-transistor
T4. Door deze FET open en dicht te sturen kan het signaal van de toongenerator
naar potmeter R16a van maximum tot vrijwel nul worden gevarieerd. De FET
ontvangt zijn sturing vanuit de nivo- detector en/of de seinsleutel-schakeling
(punt A).
Om de werking stabiel te houden is de gate van T4 naar massa
ontkoppeld met een extra condensator (100 nF), verder is er een weerstand van 15
k tussen het knooppunt C4/D1 en de min van de voedingsspanning gezet om ook
snelle CW te kunnen volgen. Deze twee componenten staan niet in het schema en de
printtekening aangegeven! (zie ook bij 'Printjes en behuizing').
Versterker en voedingseenheid
De audioversterker is opgebouwd rond een 8 pens IC LM-386-N. (zie
afb. 5) Om de versterker aan de praat te krijgen zijn maar enkele omringende
componenten nodig. Het volume wordt geregeld met potmeter R30. Het maximale
uitgangsvermo- gen is beperkt tot ca. 0,3 W, hetgeen ruim voldoende is.
Links onderaan is een eenvoudige diode-detector met RC-filter
getekend, hiermee kunnen HF-signaal- tjes worden opgepikt. Schakelaar S4 kiest
tussen rechtstreekse ingangs- signalen of het uitgangspiepje van de
sinusgenerator. De versterkertrap krijgt z'n voedingsspanning (ca. 7 V) vanuit
de 'positieve' helft van een gebalan- ceerde voeding, die met discrete
componenten werd opgebouwd (zie afb. 6).

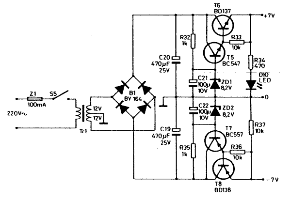
Afb.6 Schema van het voedingsgedeelte
Twee driebenige spanningsregelaars voor 8 V (7808 en 7908)
kunnen de klus natuurlijk ook klaren, maar die zijn soms minder makkelijk
verkrijgbaar dan de 5 of 12 V-versies.
Printjes en behuizing
Voor de CW-processor zijn printjes van bescheiden formaat
ontworpen Hierover meer in deel 2
(wordt vervolgd).
73, Hans - PEoVMT