|
VERON A63
Friese Wouden
____________





| |
VERON afdeling Friese Wouden
Afdelingsblad 'CQ Friese Wouden'

door PAoNN
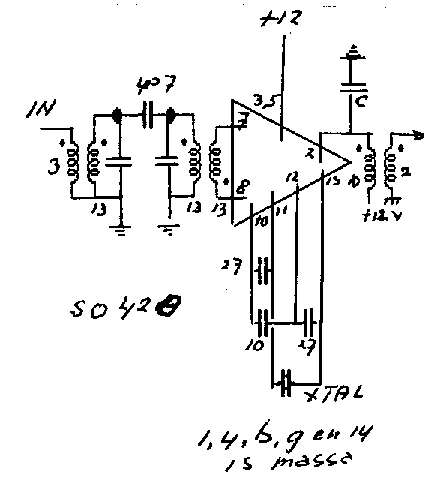
Een eenvoudige convertor voor 50 MHz
Deze schakeling is erg eenvoudig en is in n avond samen te stellen.
Het hart van de schakeling bestaat uit een Siemens IC SO42B. Dit is een actieve mixer.
Door hierop enige componenten aan te sluiten werkt deze schakeling, na enige afregeling,
direct. Uitgaande van een beschikbare achterzet ontvanger waarop het bereik van 28 tot 30
MHz. aanwezig is kan met verschillende kristallen op meerdere 2 MHz. brede segmenten
geluisterd worden.
| Ik gebruikte een 22 MHz kristal en kon zo de 50 MHz ontvangen. Voor
de spoeltjes nam hij de bekende TOKO spoeltjes met het aantal windingen zoals aangegeven.
Het geheel is gemonteerd op een stukje experimenteerprint. Neemt men een kristal van 28
MHz, dan heeft men in de achterzet natuurlijk een sterk signaal op 28 MHz, maar met de
juiste spoeltjes op de ingang is het gehele bereik van 0 to 2 MHz. te ontvangen. Dus ook
de nieuwe amateurband 137 kHz. Alles met elkaar een leuk experiment. In
het schema staan de spoelgegevens voor het bereik. Condensatoren bij de spoelen 27
39 pF. |
 |
|