VERON afdeling Friese Wouden
Afdelingsblad 'CQ Friese Wouden'
Bron: RB
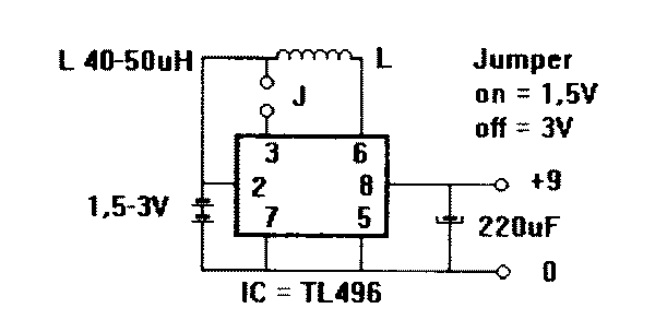
Een goedkope 1,5V batterij gebruiken in plaats van een dure 9V
batterij. DAT KAN met deze gelijkspannings- omhoog-converter. De spanning van
‚‚n of twee penlight batterijen kan omgezet worden naar 9V. Het IC TL496 van
Texas Instruments is een complete schakelende voeding die uitstekend gebruikt
kan worden als DC up converter, zodat je een penlight batterij kunt laten werken
als een 9V batterij.
Componentenlijst
TL496 IC 1x
220(F/10V elc 1x
IC voet 8 pens 1x
40 -50 uH ringkern spoel 1x
Printplaat K-35 1x
1,5V batterij houder 1x
3V batterij houder 1x
Jumper 1x
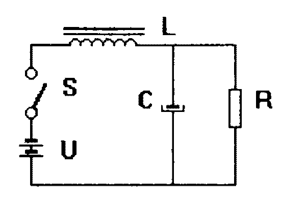
Theorie schakelende voedingen
Een DC naar DC convertor slaat energie op als magnetische flux
in de spoelkern. Wanneer een transistorschakelaar aangeschakeld wordt, zal de
energie in de spoel geladen worden. Bij het uitschakelen van de transistor komt
de energie uit de spoel vrij voor de belasting. De uitgangsspanning kan veel
hoger of lager zijn dan de ingangsspanning., omdat er magnetische flux
opgeslagen wordt en geen electrische lading. Het is zelfs mogelijk dat de
polariteit wordt omgedraaid. Dit alles is alleen afhankelijk van het ontwerp van
de schakeling. De transistor wordt sneller aangeschakeld als er meer vermogen
gevraagd wordt. Dit zorgt voor een zeer hoog rendement. Een groot voordeel is
dat er geen ingangs- vermogen in koelplaten hoeft te worden gedissipeerd.
Schakelende voedingen zijn veel compacter en effici‰nter dan
conventionele lineaire gestabiliseerde voedingen. Het grote nadeel van
schakelende voedingen is EMI (electro magnetische interferentie). De
schakelfrequentie van de schakeltransistor is dan zo hoog dat het signaal
uitgezonden wordt. Om toch te voldoen aan de EMC-richtlijnen (electro
magnetische compatibiliteit) wordt de voeding ingebouwd in een metalen behuizing.
Ontwikkelen van een schakelende voeding is slechts een kwestie van specificaties
en het toepassen van de juiste externe componenten rond het IC. De TL496 is een
van de eenvoudigst schakelende voedingen, waar slechts twee externe componenten
aan toegevoegd hoeven te worden om het geheel te laten werken.

Principe van de schakelende voeding
Een belangrijke voorwaarde is dat de spoel niet mag verzadigen.
De schakeloscillator, blokkeerdiode en controle circuits zijn allemaal
gentegreerd in het IC. Schakelende voedingen komen al geruime tijd voor in
audio- en video-apparatuur, TV's en satellietontvangers. Omdat ze tegenwoordig
zo klein zijn, worden ze ook veelvuldig toegepast in kleine consumentenproducten
zoals camera's, laptop computers, draagbare telefoons, .....etc.
Werking
Het IC TL496 werkt als een schakelende voeding op een ingangs-spanning
van 1,1V tot 1,5V (1 penlight) of op 2,3V tot 3V (2 penlights). De cyclus start
als er, via het interne terugkoppelcircuit in het IC, een lage spanning
gedetecteerd wordt aan de uitgang. Een interne schakelaar schakelt de
uitgangstransistor aan. Dit zorgt ervoor dat er een stroom gaat lopen door de
spoel. Wanneer de stroom in de spoel oploopt naar het maximum van ongeveer 1 amp‚re,
schakelt de interne transistor-schakelaar de uitgangstransistor weer uit. De
energie die nu in de spoel is opgeslagen kan, dankzij een interne diode, alleen
nog maar richting de externe elco, die daardoor wordt opgeladen. Wanneer de
uitgangssspanning weer te laag wordt, start de cyclus opnieuw.
De maximale stroom die geleverd kan worden met een 1,5 V
batterij is ruim 20 mA. Bij 3V kan de schakeling 40- tot 50 mA leveren. Dit is
ruim voldoende voor meters, klokken en kleine radio's.

Heeft u vragen of opmerkingen over de zelfbouwkits, stuur dan
een E-mail of neem contact op met de RB redactie. E-mail: ARMRKYRA@WXS.NL